Dictionary of Business Terms: encroachment
encroachment
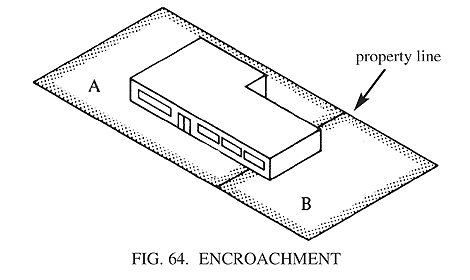
building, part of a building, or obstruction that physically intrudes upon, overlaps, or trespasses upon the property of another; verified by a survey.
Dictionary of Real Estate Terms: encroachment
encroachment
a building, a part of a building, or an obstruction that physically intrudes upon, overlaps, or trespasses upon the property of another.


